山东万鑫轮胎欠款被告上法庭,败诉

2017-10-23

2017年10月23日,在日前的轮胎市场上真是个多事之秋,除了全球的行业此起彼伏,原材料上窜下跳,进出口贸易也很不太平,国内的轮胎产业群(以山东东营地区为主)正在遭遇着生死两茫茫的境地。退无可退,据当地知情人士透露,东营地区如果清算联保和银行拆借催缴贷款,那么至少一半以上的的轮胎企业将关门大吉,我们知道当地的永泰负责人被逮捕,而奥戈瑞的资产已经被查封或拍卖,之前还有德瑞宝停业,兴源和盛泰合并。

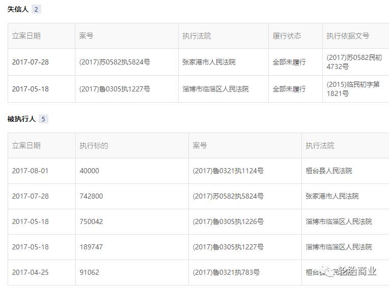
据称,山东贝斯特化工有限公司由于万鑫轮胎长期多次推诿拒不偿还欠款,随向当地法院提起诉讼。而当地法院由于事实清楚,很快在2017年8月31日做出判决被告山东万鑫轮胎有限公司于本判决生效后十日内支付原告山东贝斯特化工有限公司货款474840元。


据悉山东万鑫轮胎有限公司是由山东同济万鑫集团有限公司、山东万鑫建设公司、俄罗斯富盟集团共同投资成立的全钢载重子午线轮胎生产企业。公司位于山东省淄博市桓台县,项目总投资12.95亿元,厂区占地430亩,分两期建设,第一期投资6.2亿元,一期投产后年产子午线轮胎达80万条,产值12亿元;二期投资7亿元,二期投产后年产子午线轮胎240万条,年实现销售收入过30亿元。



一些人士曾担心表示:山东的不少轮胎企业,还会因为已经产生的复杂的担保关系,而像多米诺骨牌一样坍塌。或许正是因为这个原因,当地政府十分担心轮胎企业破产。据了解,一旦某企业遇到资金问题,政府都会出面协调解决。


山东轮胎的改革已经箭在弦上。优胜略汰已经无法避免,但是山东轮胎未来的路怎么走,还需要企业和政府的共同努力。如何顺应市场,审时度势,做好转型是山东轮胎面临的重大难题。也许在不久的将来,山东轮胎又将呈现另外一番景象。